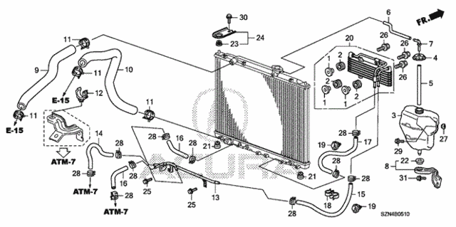
Radiator Hose - Reserve Tank - ATF Cooler for 2011 Acura ZDX
Categories
- Alloy Wheel (19")
- Alloy Wheel (20")
- Back-UP Sensor - Attachment
- Cargo Cover
- Cargo Net
- Cigarette Lighter
- LED Sport Running Boards
- Remote Engine Starter ('10-'12)
- Remote Engine Starter Attachment ('10-'12)
- Shift Knob (Wood)
- Splash Guards
- Steering Wheel (Wood)
- Tailgate Spoiler
- Touch-UP Paint
- Trailer Hitch
- Trailer Hitch Harness
- A/C Compressor
- A/C Condenser
- A/C Hoses - Pipes
- A/C Sensor
- Engine Hood
- Engine Mounts
- Floor Panels
- Front Bulkhead - Dashboard
- Front Door Locks - Outer Handle
- Front Door Panels
- Front Door Windows - Regulator
- Front Fenders
- Front Sub Frame - Rear Beam
- Front Windshield (-'12)
- Inner Panel
- Outer Panel
- Power Tailgate Motor
- Rear Door Locks - Outer Handle
- Rear Door Panels
- Rear Door Windows - Regulator
- Rear Windshield
- Tailgate
- Brake Lines (VSA) (1)
- Brake Lines (VSA) (2)
- Brake Master Cylinder - Master Power (KA/KC)
- Driveshaft - Half Shaft
- Front Brake
- Front Knuckle
- Front Shock Absorber (1)
- Front Shock Absorber (2)
- P.S. Gear Box (1)
- P.S. Gear Box (2)
- P.S. Gear Box Components (1)
- P.S. Gear Box Components (2)
- P.S. Lines (1)
- P.S. Lines (2)
- Parking Brake
- Parking Brake Shoe
- Pedal
- Propeller Shaft
- Rear Brake
- Rear Differential - Mount
- Rear Driveshaft
- Rear Lower Arm
- Rear Shock Absorber (1)
- Rear Shock Absorber (2)
- Select Lever
- Steering Column
- Steering Wheel (SRS)
- VSA Modulator
- Wheel Disk (KA)
- Air Cleaner
- Antenna - Speaker
- Audio Unit - Center Module
- Audio Unit - Center Module (Navigation)
- Battery
- Center Display
- Combination Switch
- Control Unit (Cabin) (1)
- Control Unit (Cabin) (2)
- Control Unit (Engine Room) (1)
- Control Unit (Engine Room) (2)
- Electrical Connectors (FR.)
- Exhaust Pipe - Muffler
- Foglight
- Front Windshield Wiper
- Fuel Pipe
- Fuel Tank (1)
- Fuel Tank Set (Short Parts)
- Harness Band - Bracket
- Headlight
- Heater Blower
- Heater Unit
- Interior Light
- Key Cylinder Components
- Key Cylinder Set
- Key Cylinder Set (Smart)
- Meter
- Navigation System - Rear Camera
- Radar - BSI Unit
- Radiator
- Radiator Hose - Reserve Tank - ATF Cooler
- Resonator Chamber
- Smart Unit
- SRS Unit
- Switch
- Taillight - License Light
- TPMS Unit
- Water Hose
- Windshield Washer
- Wire Harness (1)
- Wire Harness (2)
- Wire Harness (3)
- Wire Harness (4)
- Alternator (Denso)
- Alternator Bracket - Tensioner
- Breather Tube
- Camshaft - Timing Belt
- Converter
- Crankshaft - Piston
- Cylinder Block - Oil Pan
- Cylinder Head Cover
- Engine Assy. - Transmission Assy.
- Engine Cover
- Engine Wire Harness
- Front Cylinder Head
- Fuel Injector
- Gasket Kit
- Intake Manifold
- Oil Pump
- P.S. Pump - Bracket
- Plug Hole Coil - Plug
- Rear Cylinder Head
- Starter Motor (Denso)
- Throttle Body
- Timing Belt Cover
- Torque Converter
- Tubing
- Valve - Rocker Arm (FR.)
- Valve - Rocker Arm (RR.)
- Water Hose
- Water Pump
- Duct
- Emblems - Caution Labels
- Floor Mat
- Front Bumper
- Front Console
- Front Door Lining
- Front Grille (-'12)
- Front Seat (L.)
- Front Seat (R.)
- Front Seat Components (L.)
- Front Seat Components (R.)
- Glass Roof
- Grommet (FR.)
- Grommet (Lower)
- Grommet (RR.)
- Instrument Panel
- Instrument Panel Garnish (Driver Side)
- Instrument Panel Garnish (Passenger Side)
- Mirror (-'12)
- Molding
- Pillar Garnish
- Rear Bumper
- Rear Console
- Rear Door Lining
- Rear Seat
- Rear Seat Components
- Rear Tray - Trunk Lining
- Roof Lining
- Roof Slide Components
- Seat Belts
- Side Lining
- Side Sill Garnish
- Sunshade
- Tailgate Lining
- Tools - Jack
- AT Countershaft
- AT Differential
- AT Idle Shaft
- AT Main Valve Body
- AT Mainshaft - Clutch (3rd-6th)
- AT Manual Valve Body
- AT Oil Level Gauge - ATF Pipe
- AT Regulator Body
- AT Secondary Shaft - Clutch (Low/2nd-5th)
- AT Sensor - Solenoid - Secondary Body
- AT Shift Fork
- AT Third Shaft - Clutch (4th)
- AT Torque Converter Case
- AT Transfer
- AT Transmission Case
- Alloy Wheel (19")
- Alloy Wheel (20")
- Back-UP Sensor - Attachment
- Cargo Cover
- Cargo Net
- Cigarette Lighter
- LED Sport Running Boards
- Remote Engine Starter ('10-'12)
- Remote Engine Starter Attachment ('10-'12)
- Shift Knob (Wood)
- Splash Guards
- Steering Wheel (Wood)
- Tailgate Spoiler
- Touch-UP Paint
- Trailer Hitch
- Trailer Hitch Harness
- A/C Compressor
- A/C Condenser
- A/C Hoses - Pipes
- A/C Sensor
- Engine Hood
- Engine Mounts
- Floor Panels
- Front Bulkhead - Dashboard
- Front Door Locks - Outer Handle
- Front Door Panels
- Front Door Windows - Regulator
- Front Fenders
- Front Sub Frame - Rear Beam
- Front Windshield (-'12)
- Inner Panel
- Outer Panel
- Power Tailgate Motor
- Rear Door Locks - Outer Handle
- Rear Door Panels
- Rear Door Windows - Regulator
- Rear Windshield
- Tailgate
- Brake Lines (VSA) (1)
- Brake Lines (VSA) (2)
- Brake Master Cylinder - Master Power (KA/KC)
- Driveshaft - Half Shaft
- Front Brake
- Front Knuckle
- Front Shock Absorber (1)
- Front Shock Absorber (2)
- P.S. Gear Box (1)
- P.S. Gear Box (2)
- P.S. Gear Box Components (1)
- P.S. Gear Box Components (2)
- P.S. Lines (1)
- P.S. Lines (2)
- Parking Brake
- Parking Brake Shoe
- Pedal
- Propeller Shaft
- Rear Brake
- Rear Differential - Mount
- Rear Driveshaft
- Rear Lower Arm
- Rear Shock Absorber (1)
- Rear Shock Absorber (2)
- Select Lever
- Steering Column
- Steering Wheel (SRS)
- VSA Modulator
- Wheel Disk (KA)
- Air Cleaner
- Antenna - Speaker
- Audio Unit - Center Module
- Audio Unit - Center Module (Navigation)
- Battery
- Center Display
- Combination Switch
- Control Unit (Cabin) (1)
- Control Unit (Cabin) (2)
- Control Unit (Engine Room) (1)
- Control Unit (Engine Room) (2)
- Electrical Connectors (FR.)
- Exhaust Pipe - Muffler
- Foglight
- Front Windshield Wiper
- Fuel Pipe
- Fuel Tank (1)
- Fuel Tank Set (Short Parts)
- Harness Band - Bracket
- Headlight
- Heater Blower
- Heater Unit
- Interior Light
- Key Cylinder Components
- Key Cylinder Set
- Key Cylinder Set (Smart)
- Meter
- Navigation System - Rear Camera
- Radar - BSI Unit
- Radiator
- Radiator Hose - Reserve Tank - ATF Cooler
- Resonator Chamber
- Smart Unit
- SRS Unit
- Switch
- Taillight - License Light
- TPMS Unit
- Water Hose
- Windshield Washer
- Wire Harness (1)
- Wire Harness (2)
- Wire Harness (3)
- Wire Harness (4)
- Alternator (Denso)
- Alternator Bracket - Tensioner
- Breather Tube
- Camshaft - Timing Belt
- Converter
- Crankshaft - Piston
- Cylinder Block - Oil Pan
- Cylinder Head Cover
- Engine Assy. - Transmission Assy.
- Engine Cover
- Engine Wire Harness
- Front Cylinder Head
- Fuel Injector
- Gasket Kit
- Intake Manifold
- Oil Pump
- P.S. Pump - Bracket
- Plug Hole Coil - Plug
- Rear Cylinder Head
- Starter Motor (Denso)
- Throttle Body
- Timing Belt Cover
- Torque Converter
- Tubing
- Valve - Rocker Arm (FR.)
- Valve - Rocker Arm (RR.)
- Water Hose
- Water Pump
- Duct
- Emblems - Caution Labels
- Floor Mat
- Front Bumper
- Front Console
- Front Door Lining
- Front Grille (-'12)
- Front Seat (L.)
- Front Seat (R.)
- Front Seat Components (L.)
- Front Seat Components (R.)
- Glass Roof
- Grommet (FR.)
- Grommet (Lower)
- Grommet (RR.)
- Instrument Panel
- Instrument Panel Garnish (Driver Side)
- Instrument Panel Garnish (Passenger Side)
- Mirror (-'12)
- Molding
- Pillar Garnish
- Rear Bumper
- Rear Console
- Rear Door Lining
- Rear Seat
- Rear Seat Components
- Rear Tray - Trunk Lining
- Roof Lining
- Roof Slide Components
- Seat Belts
- Side Lining
- Side Sill Garnish
- Sunshade
- Tailgate Lining
- Tools - Jack
- AT Countershaft
- AT Differential
- AT Idle Shaft
- AT Main Valve Body
- AT Mainshaft - Clutch (3rd-6th)
- AT Manual Valve Body
- AT Oil Level Gauge - ATF Pipe
- AT Regulator Body
- AT Secondary Shaft - Clutch (Low/2nd-5th)
- AT Sensor - Solenoid - Secondary Body
- AT Shift Fork
- AT Third Shaft - Clutch (4th)
- AT Torque Converter Case
- AT Transfer
- AT Transmission Case
Browse Categories
Select category
- Alloy Wheel (19")
- Alloy Wheel (20")
- Back-UP Sensor - Attachment
- Cargo Cover
- Cargo Net
- Cigarette Lighter
- LED Sport Running Boards
- Remote Engine Starter ('10-'12)
- Remote Engine Starter Attachment ('10-'12)
- Shift Knob (Wood)
- Splash Guards
- Steering Wheel (Wood)
- Tailgate Spoiler
- Touch-UP Paint
- Trailer Hitch
- Trailer Hitch Harness
- A/C Compressor
- A/C Condenser
- A/C Hoses - Pipes
- A/C Sensor
- Engine Hood
- Engine Mounts
- Floor Panels
- Front Bulkhead - Dashboard
- Front Door Locks - Outer Handle
- Front Door Panels
- Front Door Windows - Regulator
- Front Fenders
- Front Sub Frame - Rear Beam
- Front Windshield (-'12)
- Inner Panel
- Outer Panel
- Power Tailgate Motor
- Rear Door Locks - Outer Handle
- Rear Door Panels
- Rear Door Windows - Regulator
- Rear Windshield
- Tailgate
- Brake Lines (VSA) (1)
- Brake Lines (VSA) (2)
- Brake Master Cylinder - Master Power (KA/KC)
- Driveshaft - Half Shaft
- Front Brake
- Front Knuckle
- Front Shock Absorber (1)
- Front Shock Absorber (2)
- P.S. Gear Box (1)
- P.S. Gear Box (2)
- P.S. Gear Box Components (1)
- P.S. Gear Box Components (2)
- P.S. Lines (1)
- P.S. Lines (2)
- Parking Brake
- Parking Brake Shoe
- Pedal
- Propeller Shaft
- Rear Brake
- Rear Differential - Mount
- Rear Driveshaft
- Rear Lower Arm
- Rear Shock Absorber (1)
- Rear Shock Absorber (2)
- Select Lever
- Steering Column
- Steering Wheel (SRS)
- VSA Modulator
- Wheel Disk (KA)
- Air Cleaner
- Antenna - Speaker
- Audio Unit - Center Module
- Audio Unit - Center Module (Navigation)
- Battery
- Center Display
- Combination Switch
- Control Unit (Cabin) (1)
- Control Unit (Cabin) (2)
- Control Unit (Engine Room) (1)
- Control Unit (Engine Room) (2)
- Electrical Connectors (FR.)
- Exhaust Pipe - Muffler
- Foglight
- Front Windshield Wiper
- Fuel Pipe
- Fuel Tank (1)
- Fuel Tank Set (Short Parts)
- Harness Band - Bracket
- Headlight
- Heater Blower
- Heater Unit
- Interior Light
- Key Cylinder Components
- Key Cylinder Set
- Key Cylinder Set (Smart)
- Meter
- Navigation System - Rear Camera
- Radar - BSI Unit
- Radiator
- Radiator Hose - Reserve Tank - ATF Cooler
- Resonator Chamber
- Smart Unit
- SRS Unit
- Switch
- Taillight - License Light
- TPMS Unit
- Water Hose
- Windshield Washer
- Wire Harness (1)
- Wire Harness (2)
- Wire Harness (3)
- Wire Harness (4)
- Alternator (Denso)
- Alternator Bracket - Tensioner
- Breather Tube
- Camshaft - Timing Belt
- Converter
- Crankshaft - Piston
- Cylinder Block - Oil Pan
- Cylinder Head Cover
- Engine Assy. - Transmission Assy.
- Engine Cover
- Engine Wire Harness
- Front Cylinder Head
- Fuel Injector
- Gasket Kit
- Intake Manifold
- Oil Pump
- P.S. Pump - Bracket
- Plug Hole Coil - Plug
- Rear Cylinder Head
- Starter Motor (Denso)
- Throttle Body
- Timing Belt Cover
- Torque Converter
- Tubing
- Valve - Rocker Arm (FR.)
- Valve - Rocker Arm (RR.)
- Water Hose
- Water Pump
- Duct
- Emblems - Caution Labels
- Floor Mat
- Front Bumper
- Front Console
- Front Door Lining
- Front Grille (-'12)
- Front Seat (L.)
- Front Seat (R.)
- Front Seat Components (L.)
- Front Seat Components (R.)
- Glass Roof
- Grommet (FR.)
- Grommet (Lower)
- Grommet (RR.)
- Instrument Panel
- Instrument Panel Garnish (Driver Side)
- Instrument Panel Garnish (Passenger Side)
- Mirror (-'12)
- Molding
- Pillar Garnish
- Rear Bumper
- Rear Console
- Rear Door Lining
- Rear Seat
- Rear Seat Components
- Rear Tray - Trunk Lining
- Roof Lining
- Roof Slide Components
- Seat Belts
- Side Lining
- Side Sill Garnish
- Sunshade
- Tailgate Lining
- Tools - Jack
- AT Countershaft
- AT Differential
- AT Idle Shaft
- AT Main Valve Body
- AT Mainshaft - Clutch (3rd-6th)
- AT Manual Valve Body
- AT Oil Level Gauge - ATF Pipe
- AT Regulator Body
- AT Secondary Shaft - Clutch (Low/2nd-5th)
- AT Sensor - Solenoid - Secondary Body
- AT Shift Fork
- AT Third Shaft - Clutch (4th)
- AT Torque Converter Case
- AT Transfer
- AT Transmission Case
- Alloy Wheel (19")
- Alloy Wheel (20")
- Back-UP Sensor - Attachment
- Cargo Cover
- Cargo Net
- Cigarette Lighter
- LED Sport Running Boards
- Remote Engine Starter ('10-'12)
- Remote Engine Starter Attachment ('10-'12)
- Shift Knob (Wood)
- Splash Guards
- Steering Wheel (Wood)
- Tailgate Spoiler
- Touch-UP Paint
- Trailer Hitch
- Trailer Hitch Harness
- A/C Compressor
- A/C Condenser
- A/C Hoses - Pipes
- A/C Sensor
- Engine Hood
- Engine Mounts
- Floor Panels
- Front Bulkhead - Dashboard
- Front Door Locks - Outer Handle
- Front Door Panels
- Front Door Windows - Regulator
- Front Fenders
- Front Sub Frame - Rear Beam
- Front Windshield (-'12)
- Inner Panel
- Outer Panel
- Power Tailgate Motor
- Rear Door Locks - Outer Handle
- Rear Door Panels
- Rear Door Windows - Regulator
- Rear Windshield
- Tailgate
- Brake Lines (VSA) (1)
- Brake Lines (VSA) (2)
- Brake Master Cylinder - Master Power (KA/KC)
- Driveshaft - Half Shaft
- Front Brake
- Front Knuckle
- Front Shock Absorber (1)
- Front Shock Absorber (2)
- P.S. Gear Box (1)
- P.S. Gear Box (2)
- P.S. Gear Box Components (1)
- P.S. Gear Box Components (2)
- P.S. Lines (1)
- P.S. Lines (2)
- Parking Brake
- Parking Brake Shoe
- Pedal
- Propeller Shaft
- Rear Brake
- Rear Differential - Mount
- Rear Driveshaft
- Rear Lower Arm
- Rear Shock Absorber (1)
- Rear Shock Absorber (2)
- Select Lever
- Steering Column
- Steering Wheel (SRS)
- VSA Modulator
- Wheel Disk (KA)
- Air Cleaner
- Antenna - Speaker
- Audio Unit - Center Module
- Audio Unit - Center Module (Navigation)
- Battery
- Center Display
- Combination Switch
- Control Unit (Cabin) (1)
- Control Unit (Cabin) (2)
- Control Unit (Engine Room) (1)
- Control Unit (Engine Room) (2)
- Electrical Connectors (FR.)
- Exhaust Pipe - Muffler
- Foglight
- Front Windshield Wiper
- Fuel Pipe
- Fuel Tank (1)
- Fuel Tank Set (Short Parts)
- Harness Band - Bracket
- Headlight
- Heater Blower
- Heater Unit
- Interior Light
- Key Cylinder Components
- Key Cylinder Set
- Key Cylinder Set (Smart)
- Meter
- Navigation System - Rear Camera
- Radar - BSI Unit
- Radiator
- Radiator Hose - Reserve Tank - ATF Cooler
- Resonator Chamber
- Smart Unit
- SRS Unit
- Switch
- Taillight - License Light
- TPMS Unit
- Water Hose
- Windshield Washer
- Wire Harness (1)
- Wire Harness (2)
- Wire Harness (3)
- Wire Harness (4)
- Alternator (Denso)
- Alternator Bracket - Tensioner
- Breather Tube
- Camshaft - Timing Belt
- Converter
- Crankshaft - Piston
- Cylinder Block - Oil Pan
- Cylinder Head Cover
- Engine Assy. - Transmission Assy.
- Engine Cover
- Engine Wire Harness
- Front Cylinder Head
- Fuel Injector
- Gasket Kit
- Intake Manifold
- Oil Pump
- P.S. Pump - Bracket
- Plug Hole Coil - Plug
- Rear Cylinder Head
- Starter Motor (Denso)
- Throttle Body
- Timing Belt Cover
- Torque Converter
- Tubing
- Valve - Rocker Arm (FR.)
- Valve - Rocker Arm (RR.)
- Water Hose
- Water Pump
- Duct
- Emblems - Caution Labels
- Floor Mat
- Front Bumper
- Front Console
- Front Door Lining
- Front Grille (-'12)
- Front Seat (L.)
- Front Seat (R.)
- Front Seat Components (L.)
- Front Seat Components (R.)
- Glass Roof
- Grommet (FR.)
- Grommet (Lower)
- Grommet (RR.)
- Instrument Panel
- Instrument Panel Garnish (Driver Side)
- Instrument Panel Garnish (Passenger Side)
- Mirror (-'12)
- Molding
- Pillar Garnish
- Rear Bumper
- Rear Console
- Rear Door Lining
- Rear Seat
- Rear Seat Components
- Rear Tray - Trunk Lining
- Roof Lining
- Roof Slide Components
- Seat Belts
- Side Lining
- Side Sill Garnish
- Sunshade
- Tailgate Lining
- Tools - Jack
- AT Countershaft
- AT Differential
- AT Idle Shaft
- AT Main Valve Body
- AT Mainshaft - Clutch (3rd-6th)
- AT Manual Valve Body
- AT Oil Level Gauge - ATF Pipe
- AT Regulator Body
- AT Secondary Shaft - Clutch (Low/2nd-5th)
- AT Sensor - Solenoid - Secondary Body
- AT Shift Fork
- AT Third Shaft - Clutch (4th)
- AT Torque Converter Case
- AT Transfer
- AT Transmission Case
Radiator Hose - Reserve Tank - ATF Cooler for 2011 Acura ZDX
No.
Part # / Description / Price
Price
Acura